Задать свой вопрос   *более 50 000 пользователей получили ответ на «Решим всё»

Задача 7626 Найдите расстояние от путника В,...

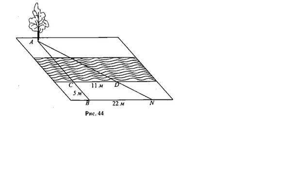
Условие

Найдите расстояние от путника В, стоящего на одном берегу реки, до дерева А на другом берегу, если BN = 22 м , CD = 11 м, ВС = 5 м (см. рис. 44). Ответ дайте в метрах.

математика 8-9 класс 20205

Решение

1)тр.ACD подобен тр.ABN(по двум углам,т.к уг.A-общий, CD||BN при сек.AB)
2)CD/BN=CA/AB
11/22=x/(x+5)
22x=11(x+5)
22x=11x+55
22x-11x=55
11x=55
x=5
3)AB=x+5=5+5=10(метров)


Ответ: 10

Написать комментарий

Меню

Присоединяйся в ВК