Задать свой вопрос   *более 50 000 пользователей получили ответ на «Решим всё»

Задача 3744 Замкнутое медное кольцо подвешено на...

Условие

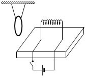
Замкнутое медное кольцо подвешено на длинных нитях вблизи катушки индуктивности, закрепленной на столе и подключенной к источнику постоянного тока (см. рисунок). Первоначально электрическая цепь катушки разомкнута. Как будет двигаться кольцо при замыкании цепи? Ответ поясните, используя физические закономерности.

физика 10-11 класс 12535

Решение



Ответ: В решение

Написать комментарий

Меню

Присоединяйся в ВК