Задать свой вопрос   *более 50 000 пользователей получили ответ на «Решим всё»

Задача 2422 Деталь имеет форму изображённого на...

Условие

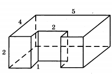
Деталь имеет форму изображённого на рисунке многогранника (все двугранные углы прямые). Цифры на рисунке обозначают длины ребер в сантиметрах. Найдите объем этой детали. Ответ дайте в кубических сантиметрах.

математика 10-11 класс 38480

Решение

Объем этой детали будет большой параллелепипед со сторонами 2, 4, 5 минус маленький(вырезанный) со сторонами 1, 2, 2
2*4*5 - 1*2*2= 40-4= 36


Ответ: 36

Вопросы к решению (2)

Написать комментарий

Меню

Присоединяйся в ВК