Задать свой вопрос   *более 50 000 пользователей получили ответ на «Решим всё»

Задача 1846 На гладкой горизонтальной плоскости...

Условие

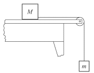
На гладкой горизонтальной плоскости находится тело массы М. Другое тело массы m подвешено на нити, перекинутой через блок и привязанной к телу массы М. Найти ускорения тел и натяжение нити. Трением тела массы М о плоскость и трением в блоке, а также массами блока и нити пренебречь.

физика 10-11 класс 7339

Решение

Так как длина нити не меняется во время движения грузов, то оба тела движутся с одинаковым по величине ускорением а. На тело М действует по направлению движения только сила натяжения нити Т, откуда

Т = Ма. (1)

На тело массы m вдоль направления движения (по вертикали) действуют две силы: сила притяжения Земли mg и сила натяжения нити Т. Следовательно, mg — Т = mа; принимая во внимание уравнение (1), находим искомые величины.


Ответ: a=m/(m+M); T=Mmg/(M+m)

Вопросы к решению (1)

Написать комментарий

Меню

Присоединяйся в ВК