Задать свой вопрос   *более 50 000 пользователей получили ответ на «Решим всё»

Задача 18444 Рыбаку нужно переправиться с острова А...

Условие

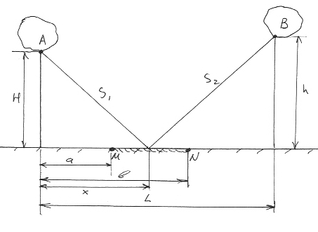
Рыбаку нужно переправиться с острова А на остров В (рис. 1). Чтобы пополнить свои запасы, он должен попасть на участок берега MN. Найти кратчайший путь рыбака s=s1+s2.

a=400, b=600, H=800, h=600, L=1400

математика ВУЗ 3747

Решение



Ответ: 600

Написать комментарий

Меню

Присоединяйся в ВК