Задать свой вопрос   *более 50 000 пользователей получили ответ на «Решим всё»

Задача 1573 Система грузов M, m1 и m2, показанная на...

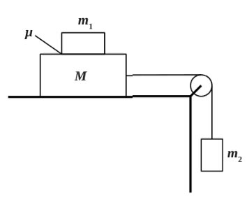
Условие

Система грузов M, m1 и m2, показанная на рисунке, движется из состояния покоя. Поверхность стола горизонтальная гладкая. Коэффициент трения между грузами M и m1 равен u= 0,2. Грузы m1 и m2 связаны легкой нерастяжимой нитью, которая скользит по блоку без трения. Пусть M = 1,2 кг , m1 = m2 = m . При каких значениях m грузы M и m1 движутся как одно целое?

физика 10-11 класс 54247

Решение



Ответ: в решение

Вопросы к решению (1)

Написать комментарий

Меню

Присоединяйся в ВК