Задать свой вопрос   *более 50 000 пользователей получили ответ на «Решим всё»

Задача 12255 Площадь параллелограмма ABCD равна 12....

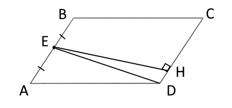
Условие

Площадь параллелограмма ABCD равна 12. Точка Е - середина стороны АВ. Найдите площадь трапеции EBCD.

математика 10-11 класс 28386

Решение

Пусть АВ=CD=a
Тогда ЕА=1/2а
EH-высота
S(ABCD)=а*ЕН
а*ЕН=12
S(EBCD)=1/2*(a+1/2a)*EH=1/2*3/2a*EH=3/4*a*EH=3/4*12=9


Ответ: 9

Вопросы к решению (1)

Написать комментарий

Меню

Присоединяйся в ВК